Samsung’un katlanabilir cihazlarından olan Galaxy Z Fold 4’ün, yapı kalitesi, kameraları, yazılım ve pil ömrü arasında mükemmel bir denge sunduğu için 2022''de piyasaya sürülen en iyi katlanabilir akıllı telefonlardan biri olduğu ifade edildi. Bu, iyileştirme için yer olmadığı anlamına gelmiyor.

Samsung, kendisini Çinli firmaların yakın zamanda piyasaya sürdüğü katlanabilir telefonlara yaklaştırabilecek bir tasarım kusurunu Galaxy Z Fold F yeni cihazında düzeltecek.

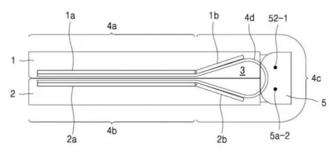
TASARIMIN YENİ GÖRÜNTÜSÜ ORTAYA ÇIKTI

Galaxy Z Fold 5 yeni tasarıma geçiyor. Kullanıcıların şikayet ettiği sorun ortadan kalkıyor - Resim : 1

Koreli yayın organı Naver''in haberine göre Samsung, Galaxy Z Fold 5''te su damlası şeklinde bir menteşe kullanacak. Bu, Güney Koreli firmanın bir sonraki amiral gemisi katlanabilir akıllı telefonunun tamamen düz bir şekilde katlanabileceği ve katlandığında telefonun 2 yarısı arasında boşluk kalmayacağı ifade edildi. Ayrıca, Galaxy Z Fold 5''in iç ekranı daha pürüzsüz ve daha az görünür bir kırışıklığa sahip olacağı aktarıldı. Bu, Galaxy Z Fold hayranlarının uzun zamandır istediği bir şey olarak tanımlandı.

Rakip Çinli akıllı telefon firmalarının aksine Samsung, suya dayanıklılık için IPX8 derecesini de değerlendirdi. Galaxy Z Fold 5, düz katlanır tasarımı ve suya dayanıklılığı ile tasarım ve deneyim açısından önemli bir akıllı telefon olacak.

Fakat cihazla ilgili ortaya çıkan diğer sızıntılara göre telefonda toza karşı dayanıklılık bulunmayacak.

Raporda Samsung''un yeni menteşe tasarımına ''dambıl'' adını verdiği ve şirketin bu tasarımın patentini 2016 yılında aldığı aktarıldı. Bu yeni dambıl menteşe sayesinde ekranın dayanıklılığının da arttığı ve kullanım ömrü boyunca daha fazla katlanma ve açılma eylemine dayanabileceği ifade edildi.